Wykaz bezpieczników i zastosowanie Captiva 2007-2010

czyli jak samemu coś naprawić, coś usprawnić
ODPOWIEDZ
Awatar użytkownika
chocisz
Profesjonalista
Posty: 622
Rejestracja: 17 gru 2019, o 19:13
Reputacja: 38
Imię: wojtas
Samochód: Lacetti
Silnik: F18D3
Lokalizacja: warszawa
Kontakt:

Wykaz bezpieczników i zastosowanie Captiva 2007-2010

Post autor: chocisz » 6 maja 2020, o 19:52

Wykaz bezpieczników
Załączniki
ZASTOSOWANIE I DOPUSZCZALNA OBCIĄŻALNOŚĆ BEZPIECZNIKÓW W PUSZCE BEZPIECZNIKOWEJ.doc
(248 KiB) Pobrany 207 razy
BLOK BEZPIECZNIKÓW I PRZEKAŹNIKÓW W KOMORZE SILNIKA
BLOK BEZPIECZNIKÓW I PRZEKAŹNIKÓW W KOMORZE SILNIKA
ZASTOSOWANIE BEZPIECZNIKÓW W BLOKU BEZPIECZNIKÓW SILNIKA
ZASTOSOWANIE BEZPIECZNIKÓW W BLOKU BEZPIECZNIKÓW SILNIKA
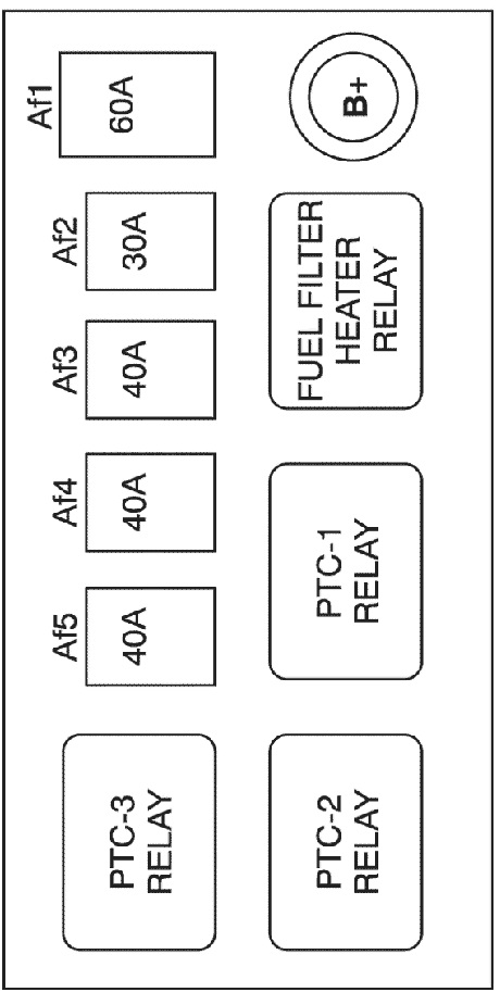
BLOK BEZPIECZNIKÓW SILNIKA, POMOCNICZY (TYLKO DIESEL)
BLOK BEZPIECZNIKÓW SILNIKA, POMOCNICZY (TYLKO DIESEL)
ZASTOSOWANIE BEZPIECZNIKÓW
ZASTOSOWANIE BEZPIECZNIKÓW
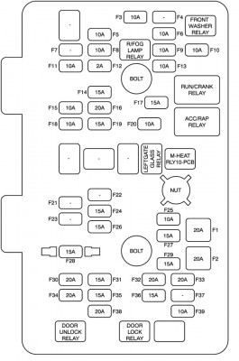
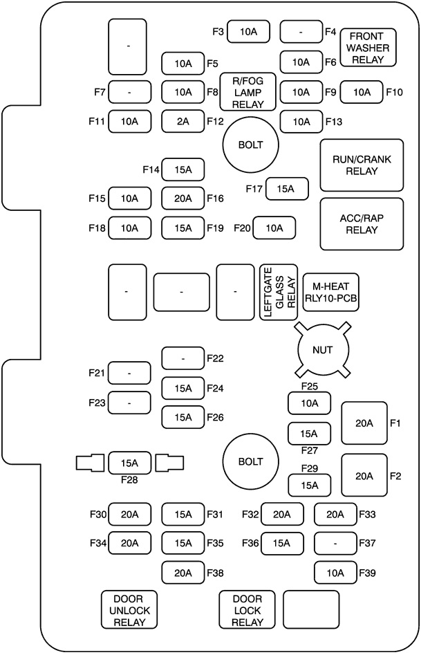
BLOK BEZPIECZNIKÓW TABLICY ROZDZIELCZEJ
BLOK BEZPIECZNIKÓW TABLICY ROZDZIELCZEJ
ZASTOSOWANIE BEZPIECZNIKÓW
ZASTOSOWANIE BEZPIECZNIKÓW

ODPOWIEDZ

Wróć do „Captiva Manuale”

Kto jest online

Użytkownicy przeglądający to forum: Obecnie na forum nie ma żadnego zarejestrowanego użytkownika i 1 gość